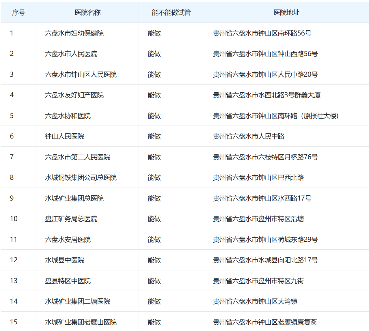
六盘水市目前虽仅有一家专注于试管的医院,但令人欣慰的是,众多当地医疗机构如六盘水市人民医院、六盘水友好妇产医院、六盘水协和医院等,均已设立生殖技术科,并具备开展试管技术的能力。此外,这些医院正积极申报生殖技术牌照,以期为广大不孕不育家庭提供更专业、更全面的辅助生殖服务。为了帮助大家在众多选择中找到最适合自己的六盘水试管机构,我们精心整理了以下相关资料,以供参考。

六盘水高试管成功率医院
六盘水市可以开展辅助生殖技术的医疗机构排名,不是以试管成功率和费用为标准,而只是以省级行政区划和准入时间为标准,到2022年初,已有536家医疗机构获准开展辅助生殖技术,其中贵州13家,六盘水仅1家专门做试管。

需要注意的是,以上排名与试管成功率和费用无关,仅按照各大医院辅助生殖技术准入时间整理,不代表六盘水各医院的综合实力。由上表可知,六盘水目前没有试管技术开展资质的医院,有这方面需求的患者可到临近城市进行。
六盘水试管机构
医院位于六盘水市钟山区南环路,目前可以开展人工授精服务,但不能开展相关试管技术,据说正在积极准备试管技术,通常情况下,做人工授精比试管要便宜很多,如果女性身体健康,可以先尝试一下,该院人工授精技术成熟,具备开展辅助生殖技术的条件,该院生殖中心设施设备先进,为人工授精治疗提供了硬件支持,整体实力水平还是比较强的。

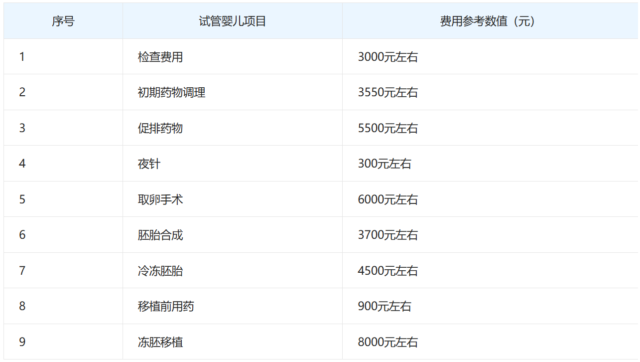
总之,做一次试管的价格是不高的。且试管成功率也不低,有相关需求的患者建议最好到院咨询。一般来说,单周期一代试管费用在3万元左右,二代试管费用在5.5万元左右,三代试管费用在7.5万元左右。
如果反复移植的话,可能需要得更多,建议在做试管手术前准备好充足的资金。虽然,北京在今年3月份已经将16项试管费用纳入医保,但六盘水暂未实施。但对于部分促排药物,医保是可以进行相关报销的,具体可到相关部门进行了解。

贵州哪些城市可以做试管
据国家卫生计生委在2020年12月31日发布的“批准开展人类辅助生殖技术医疗机构名单”中,可以看出截至2022年初国内共有536家试管医院,其中贵州省就占据有13家,主要分布在以下热门城市中:
1、贵阳
2、遵义
3、兴义
4、毕节
5、六盘水
不孕不育夫妇在选择医院时最好按照就近原则,因为做试管耗的时间不短,需要周期性手术,另外经济和身体因素也必须考虑进去。







